В настоящее время существует два способа уборки овощного гороха: раздельный двух вариантов и прямое комбайнирование. В первом варианте раздельного способа предусмотрены скашивание гороха с образованием валков, подбор валков с погрузкой в транспортные средства и обмолот зеленой массы овощного гороха на стационарной молотилке. При использовании косилок-погрузчиков первые две операции объединяются. Во втором варианте предусмотрены скашивание гороха с укладкой в валок и последующий подбор мобильной молотилкой с одновременным обмолотом.
При прямом комбайнировании производится сбор зеленой массы и вымолот зерна без предварительного скашивания и образования валков.
В СССР для скашивания овощного гороха выпускают рисобобовую жатку ЖРБ-4,2, в ВНР — жатку РА-3,6, в Румынии — теребильную машину МРМ-2,2. В некоторых хозяйствах применяют косилки-погрузчики Е-062, переоборудованные косилки-плющилки E-30I производства ГДР, комбайны СК-4, переоборудованные в косилки-погрузчики.
Эти жатки и косилки подрезают растения овощного гороха на высоте 3—5 см и укладывают в валок или грузят в транспортное средство. В связи с низким рас¬положением бобов, большой полеглостью растений и плохой выровненностью микрорельефа поля при скаши¬вании допускаются потери, достигающие, 11 % зерна в неубранных бобах.

В СССР для обмолота применяют молотилки НБЦ или БЦ-75/20 (ВНР), которые обычно устанавливают на молотильных пунктах по нескольку штук в ряд для обеспечения необходимой общей производительности.
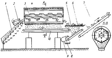
Молотилка НБЦ состоит из рамы, питающего транспортера с разравнивающим механизмом 2, молотильного аппарата, включающего внутренний битер 3 и внешний барабан 4, транспортера 10 зерна, клавишного встряхивателя 5, горки 6, вентилятора 9, выгрузного скребкового транспортера 7 для ботвы, привода и пульта управления.
Молотилки устанавливают горизонтально на бетонных колоннах. Вымолоченное зерно от каждой молотилки поступает в единый гидролоток 8, который не является составной частью молотилки.
Питающий транспортер включает две цепи, соединенные между собой осями, на каждой из которых шарнирно установлены две вилки. Вилки на несущем участке цепи удерживаются в определенном положении с помощью направляющих планок. Для разравнивания стебельной массы гороха над верхней частью транспортера установлен клавишный разравниватель, состоящий из шести зубчатых плоских клавиш и двух коленчатых валов.
Внутренний битер 3 состоит из шестигранного барабана, на котором под углом к оси установлены била (по четыре на каждой грани). Внешний барабан состоит из шестигранной пространственной рамы с шестью лопастями и решет из перфорированной листовой резины, закрепленных на раме.
Клавишный встряхиватель 5 состоит из четырех клавиш с решетчатой поверхностью (диаметр отверстия 15 мм) и двух коленчатых валов. Вентилятор 9 можно поворачивать на оси крепления поддерживающей его рамы, изменяя угол между направлением потока воздуха и поверхностью горки. Горка 6 имеет встряхивающий механизм, ударяющий по несущей части транспортерной ленты.
Привод молотильного барабана осуществляется от четырех электродвигателей.
Молотилка выполняет следующий технологический процесс. На питающий транспортер 1 вручную подается овощной горох, который он направляет в молотильную камеру. Здесь горох захватывается барабанами, и начинается процесс обмолота.
Внешний барабан вращается медленно (17 об/мин), лопастями поднимая массу вверх, где она соскальзывает с них. Билы внутреннего битера, вращающегося с частотой 132—232 об/мин (рабочая частота вращения 160—170 об/мин), ударяют по падающей массе. Под действием ударов бобы разрушаются, и из них выделяются зерна, которые проходят через отверстия решет внешнего барабана и падают на поверхность транспортера зерна. Так как билы установлены под углом к оси барабана, то масса после удара билом постепенно перемещается к выходу и падает на клавишный встряхиватель, на котором из стебельной массы выделяются неотсепарировавшиеся в молотилке зерна. С транспортера и с клавиш зерна поступают на наклонный транспортер-горку, где примеси (частицы листьев, створок, стеблей) удаляются, а зерна скатываются вниз в гидролоток или на транспортер. Обмолоченная стебельная масса удаляется скребковым транспортером.
Раздельная уборка овощного гороха имеет следующие существенные недостатки. В процессе уборки овощной горох претерпевает неоднократные перевалки (сбор в валок, подбор из валков и погрузка в транспортные средства, разгрузка на сырьевой площадке молотильного пункта и загрузка в приемные устройства молотилок). Вследствие этого увеличиваются потери зерна до 15%, трудоемкость и металлоемкость процесса, число факторов, влияющих на скорость и качество уборки, и т. д.
Более эффективными являются обмолот гороха в поле после скашивания и укладки в валки и прямое комбайнирование. Для этих способов уборки созданы прицепные и самоходные комбайны в ВНР, США, Великобритании.
Рассмотрим конструкцию венгерского прицепного комбайна ВНБЦ-ф. Комбайн состоит из следующих основных агрегатов: рамы, подборщика, транспортера-питателя, молотилки, боковых наклонных транспортеров, транспортеров зерна, ковшового элеватора, верхнего транспортера зерна, отделителя бобов, бункера зерна, транспортера обмолоченных стеблей, бункера для обмолоченной массы, транспортера возврата зерна, ходовой части, двигателя, гидравлического и электрического оборудования, автоматической выравнивающей системы, пульта управления.
Рама 2 комбайна представляет собой пространственную сварную конструкцию, опирающуюся на ходовую часть 16 и крюк трактора. При отсутствии трактора передняя часть рамы опирается на регулируемую стойку. Колеса комбайна имеют пневматические колодочные тормоза.
Подборщик включает шарнирно подвешенную раму, опирающуюся спереди на два пневматических колеса 20, на которой установлены барабанный подборщик 19 с пружинными пальцами и промежуточный передаточный шнеково-пальчатый барабан 18. Барабан 18 имеет на концах два шнека левой и правой навивки, которые сужают поток поступающей массы от 1,45 до 0,56 м. Пальцы в средней части барабана установлены шарнирно на валу, расположенном эксцентрично относительно оси барабана. Подъем подборщика в транспортное положение осуществляется гидроцилиндром через двуплечий рычаг и трос.
Транспортер-питатель 17 состоит из двух цепей, соединенных Между собой осями, на которых размещены по шесть вилок, свободно вращающихся на осях и удерживающихся в определенном положении на несущем участке транспортера с помощью направляющих лланок. Угол наклона транспортера 70°.
Молотилка комбайна состоит из внутреннего битера 10 и наружного барабана 9. На битере под углом к его оси установлены шесть рядов бил, по четыре била в каждом ряду. Частота вращения битера изменяется только при изменении частоты вращения коленчатого вала двигателя. Наружный барабан вращается в 10 раз медленнее битера. Его поверхность изготовлена из сетки с отверстиями размером 12,7X12,7 или 14x14 мм. Барабан имеет лопасти, которые вместе с кольцами образуют его каркас и одновременно служат для подъема обмолачиваемой массы. Внешний барабан устанавлива¬ют на четыре ролика. Сетка барабана очищается трехлопастной щеткой 23.
Боковые транспортеры 24 и 26 предназначены для сбора обмолоченного зерна и очистки его от плоских примесей (частиц створок бобов, листьев и др.). Они расположены вдоль молотилки. Их верхние валы полые, восьмигранного сечения, что способствует встряхиванию рабочей поверхности полотна.
Транспортер зерна 14 расположен под боковыми транспортерами. В передней части его установлен звуковой сигнализатор, срабатывающий при попадании посторонних предметов и забивании.
Ковшовый элеватор 8, состоящий из двух цепей, между которыми установлены ковши, имеет прямоугольный контур. В нижней ветви элеватора происходит очистка зерна от легких примесей с помощью потока воздуха от вентилятора.
Отделитель бобов 5 представляет собой гибкое сетчатое полотно, образующее прямоугольный контур, огибающий бункер зерна 6. Бункер зерна 6 емкостью 1,4 м3 устанавливают на двух направляющих. По бокам бункера расположены два гидроцилиндра 2. Сзади основного бункера установлен дополнительный малый бункер 22, кинематически связанный с основным через систему рычагов.

Транспортер И обмолоченных стеблей цепной, скребкового типа. Дно транспортера прутковое, что позволяет зерну, оставшемуся в обмолоченной массе, просыпаться вниз на ленточный транспортер 12 возврата зерна.
Бункер 13 обмолоченной массы имеет двустворчатое дно, открывающееся с помощью гидроцилиндра 25, и датчик заполнения массой.
Ходовая часть 16 имеет гидравлическую выравнивающую систему 15, позволяющую удерживать молотилку в горизонтальном положении при углах поперечного уклона до 19° и продольного — до 4,5°. Управление гидравлической выравнивающей системой автоматическое с помощью электрической системы 3, которая состоит из маятника, микропрерывателей, камеры, соленоидов и двух запорных кранов. Команды подаются в зависимости от положения маятника. Управление выравнивающей системой может быть ручным. Электрооборудование на комбайне получает питание от двух аккумуляторов 6СТ-120.
Привод гидронасосов и молотилки осуществляется от двигателя 4 СМД-17. Рабочие органы комбайна, кроме молотилки, имеют привод от гидродвигателей. Осветительные приборы на комбайне получают питание от трактора.
Пульт управления предназначен для управления рабочими органами комбайна и контроля за работой двигателя на комбайне.
Комбайн выполняет следующий технологический процесс. При движении вдоль валка овощного гороха, образованного жатками РА-3,6 или ЖРБ-4,2, подборщик 19 поднимает зеленую массу с почвы и передает ее на промежуточный барабан, где она сужается до ширины транспортера питателя, который захватывает стебли вилками и поднимает их вверх в камеру молотилки. В молотилке происходит процесс вылущивания зерна из бобов, как и при работе молотилки НБЦ, описанной выше.
Вылущенное зерно, пройдя сквозь сетку наружного барабана, падает на боковые транспортеры 24 и 26, где происходит очистка зерна от плоских примесей. Зерно скатывается с транспортера 26 на продольный транспортер зерна, который доставляет его к ковшовому элеватору. В ковшовом элеваторе происходит дополнительная очистка зерна от легких примесей воздушным потоком от вентилятора. Из ковшей зерно высыпается на поверхность верхнего транспортера 7 зерна, а над бункером оно падает на поверхность сетчатого транспортера 5 отделителя бобов. Здесь зерно проходит сквозь сетку и собирается в бункере, а бобы остаются на поверхности транспортера и подаются им для повторного обмолота в зеленую массу, подаваемую транспортером-питателем.
После наполнения бункера зерном комбайнер включает гидроцилиндры бункера и выгружает зерно в транспортное средство. На период выгрузки зерна автоматически на место основного бункера устанавливается дополнительный бункер, поэтому разгрузку можно осуществлять на ходу. При возвращении основного бункера на место в него высыпается зерно из дополнительного бункера.
Вымолоченная зеленая масса, поступившая из молотилки, транспортером 11 подается в бункер 13. При этом неотсепарировавшееся из массы зерно проходит между прутками транспортера 11 и падает на транспортер 12, откуда поступает на основной транспортер зерна 14. После заполнения бункера зеленой массой тракторист включает гидроцилиндр бункера, и масса в виде небольшой копны остается в поле.
Ширина захвата машины 1,45 м, рабочая скорость до 1,8 км/ч, масса 8980 кг. Обслуживают машину два человека.
При усовершенствовании машин для уборки овощного гороха повышают пропускную способность молотилок и применяют очесывающий подборщик, позволяющий убирать горох без предварительного скашивания и валкования.
Фирма FMC (США) создала прицепной комбайн модели Н2, который подбирает и обмолачивает горох, предварительно скошенный и уложенный в валок, и самоходный комбайн модели 679 для уборки овощного гороха без предварительного скашивания.
Эти комбайны имеют молотилку планетарной конструкции. В отличие от ранее применявшихся однобитерных молотилок в планетарной внутри вращающегося наружного барабана размещены пять битеров (один центральный и четыре планетарных). За один оборот наружного барабана масса овощного гороха получает шесть ударов. Такая конструкция молотилки позволила снизить повреждения зерна и повысить ее пропускную способность.

Предлагаем запасные части, комплектующие, сервисное, гарайтийное и постгарайтийное обслуживание a также б/у технику технику бывшую в употреблении.































